What are wallpaper screens and why are they so popular? Wallpapers are one of the most popular pieces of software that you can use on your computer. They are screensaver files that you can access frequently, and they can also be used as a wallpaper on your own device. There a few reasons why they are so popular. First, they are easy to create. Just drag and drop a file onto your desktop, and you’re ready to go! Second, they are beautiful. Most wallpaper files come in high-quality JPEGs or PNGs, which makes them perfect for displaying on your computer or phone. And finally, they’re versatile. You can use them as a background for photos or videos, or as the main screen saver on your device. So if you’re looking for an easy way to add some extra beauty and personality to your computer or phone, give wallpaper screens a try!
searching about D&CG: LESSON 5. Sectional drawing of simple machine parts you’ve came to the right page. We have 35 Pictures about D&CG: LESSON 5. Sectional drawing of simple machine parts like What is Engineering Drawing | Basic of Machine drawing, Basics of Machine Designs - Arun Arya and also Chapter 4-Machine Drawing. Here you go:
D&CG: LESSON 5. Sectional Drawing Of Simple Machine Parts

Source: ecoursesonline.iasri.res.in
sectional drawing machine parts simple exercise cad graphics lesson views draw side.
Conclusion This concludes our look at cool wallpaper! If you want to create a wallpaper that stands out and is your own personal statement, then it’s important to find a wallpaper that is both unique and stylish. There are many different types of cool wallpaper available, so be sure to choose the one that is best suited for your taste.
Engineering Drawing Symbols List Chart Explain | Mechanical Drawing

Source: hindiengineer.com
.
Different ways to style your wallpaper: There are many different ways to style your wallpaper, which can be a great way to add a little personality to your home. Some people prefer natural colors without any artificial chemicals, while others prefer classic designs with a modern edge. There is no right or wrong answer, and it really depends on what you like and how you want your home to look.
INTRODUCTION TO MACHINE DRAWING 3 - YouTube

Source: youtube.com
machine drawing.
Wallpapers are a type of image that is downloaded as a background image on some devices. They can be used to show off the device’s design or to create a custom look for the device. There are many different wallpaper designs to choose from, and it can be hard to decide which one to use as your device’s wallpaper.
Mechanical Machine Drawing Basics

Source: mechanical876.blogspot.com
conceptdraw simbol meanings pneumatik piping wiring flowchart deh bookingritzcarlton.
Wallpapers are a type of image that is downloaded as a background image on some devices. They can be used to show off the device’s design or to create a custom look for the device. There are many different wallpaper designs to choose from, and it can be hard to decide which one to use as your device’s wallpaper.
Machine Drawing: August 2016

Source: machine-drawing.blogspot.com
drawing machine cad drawings august.
Gallery: A showcase of some beautiful wallpaper designs. Looking for a new wallpaper design to add to your collection? Check out Gallery A, where you can see some stunning wallpaper designs. From simple designs that are perfect for any room to bold and exciting designs, there is something for everyone. With such a wide range of styles, it’s sure to be an interesting and engaging browsing experience. Whether you’re looking for a new way to display your walls or just want some new inspiration, Gallery A is the perfect place to go!
Download Fundamentals Of Machine Drawing PDF Online By SADHU SINGH, P

Source: kopykitab.com
fundamentals sadhu sah.
- lavender
Machine Drawing: August 2015

Source: machine-drawing.blogspot.com
drawing machine screw jack rrk posted.
Cool Wallpaper is a type of wallpaper that is designed to be aesthetically pleasing and easy to use. There are many different types of cool wallpaper available, so it is important to find the one that will best suit your needs and style.
Machine Drawing For Mechanical Engineers Pdf

Source: lira-flor.blogspot.com
mechanical drawing pdf blueprint reading symbols basic engineering read blueprints detail drawings example machine basics ppt powerpoint presentation symbol routledge.
Background: - What kind of wallpaper is best for your home? Wallpapers are often a deciding factor in home décor. They can be a way to add personality and flavor to your living space, or simply as a backdrop for your pictures. Here, we’ll take a look at some of the best wallpaper options for both personal and professional use.
Chapter 4-Machine Drawing

Source: draftingmanuals.tpub.com
.
Anime wallpaper is a popular way to add some extra excitement to your home screen. Whether you’re a fan of shows like Attack on Titan or Naruto, or just want something to look at while you sleep, anime wallpaper is a great way to liven up your space.
Machine Drawing 12 - YouTube

Source: youtube.com
.
- lemonade
What Is Engineering Drawing | Basic Of Machine Drawing

Source: learnmech.com
engineering drawing machine basic explained include should.
Wallpapers are a great way to set the tone of a room or home. They can also be used as an easy way to add personality and style to a room.
Drawing Machine Part - THU AN TECHNICAL CO.,LTD

Source: sites.google.com
drawing mechanical practice autocad 2d drawings cad machine part engineering samples blueprints technical 3d thumb sample drafting practise models guys.
Design and Basics: How to select a wallpaper and what is included in a typical job. When selecting a wallpaper for your home or office, it is important to understand the basics. Included in most wallpaper choices are the colors and patterns that will be used, as well as the sizes of each image. Additionally, the quality of the wallpaper will be determined by how often it will need to be changed and how richly it will be decorated.
Machine Drawing 3.25 - [PDF Document]
![Machine Drawing 3.25 - [PDF Document]](https://cdn.vdocument.in/img/1200x630/reader025/reader/2021043017/55cf8d045503462b13915410/r-1.jpg?t=1623012145)
Source: vdocument.in
.
Anime wallpaper is a popular trend in the internet. It can be a great way to add some extra color or interest to your desktop. There are many different types of anime wallpaper, so it’s important to find the one that fits your own style and needs.
3D Technical Drawing Online - Free Building Drawing At GetDrawings

Source: margarettopinterior.blogspot.com
getdrawings glb ply stl obj gltf.
Recommendations for watching anime: You can Recommendations for watching anime you can. There are many different types of anime that can be enjoyed, so it really depends on what you’re looking for in an anime. While there are some general tips that apply to all types of Anime, here are some specific recommendations for those who enjoy the genre of Anime: -Watching a new show immediately after its release is always a great way to start an AnimeWalker day. This will give you a sense of when the next episode will air and provide you with a recap of the story before you even get started watching. -If you’re looking for something more drawn out, try checking out OVA’s or one-shots before getting into the full series. These episodes usually have less action and more atmosphere, which can add to your enjoyment while giving you more closure on the story.
MECHANICAL: Machine Drawing Model Question Papers

Source: srmechanicalupdates09.blogspot.in
drawing machine question model mechanical papers.
Conclusion This concludes our look at cool wallpaper! If you want to create a wallpaper that stands out and is your own personal statement, then it’s important to find a wallpaper that is both unique and stylish. There are many different types of cool wallpaper available, so be sure to choose the one that is best suited for your taste.
Basics Of Machine Designs - Arun Arya

Source: arunarya.in
machine basics designs.
Wallpaper Examples: Some popular wallpapers that are used on a daily basis. Some popular wallpapers that are used on a daily basis include those designed for smartphones and tablets, as well as laptop or desktop backgrounds. Some of the most popular wallpaper types on these platforms include photo, vector, and MSI. Photo wallpaper is often used to show off photos of people or things within a given space. It can also be used as a background image for websites, social media sites, and other applications.Vector wallpaper is often created using vectors which make it easy to change the design and look of the wallpaper. This type of wallpaper is often used on mobile devices where icons and images are more important than text or color.
MSI (Mobile Gaming Software) wallpapers can be seen as an ideal choice if you want to show off your gaming hardware in a professional way.
Mechanical Engineering Design, Technical Drawing, Mechanical Engineering

Source: pinterest.com
.
The History of Anime: From Manga to Animation Anime has been around since the late 1800s, and its history is nothing short ofLegend. Today, there are millions of fans across the globe who enjoy watching anime on TV or streaming services. While some may only be familiar with Japan’s popular genre, others may have never heard of Studio Ghibli, creators of Spirited Away and Howl’s Moving Castle. Here are five key moments in the history of anime that will leave you wondering why it continues to grow in popularity today:
- In 1907, Japans born artist and illustrator Eisuke Matsubara drew the first manga-style animation for a film release. This was followed by many other studios throughout the 1930s and 1940s before Production I.G began releasing anime films in earnest in 1954.
Punjab Technical University 2009 B.Tech Production Engineering ,(PE-203

Source: howtoexam.com
drawing machine engineering technical production paper pe detail university punjab question tech 2009 2010 q5 explain types different.
- lavender
Engineering Drawing Symbols Engineering Drawing Symbols 157202 Basic

Source: pinterest.com
symbols drawing engineering basic print coloring pages practice surface colossal squid.
What are wallpaper screens and why are they so popular? Wallpapers are one of the most popular pieces of software that you can use on your computer. They are screensaver files that you can access frequently, and they can also be used as a wallpaper on your own device. There a few reasons why they are so popular. First, they are easy to create. Just drag and drop a file onto your desktop, and you’re ready to go! Second, they are beautiful. Most wallpaper files come in high-quality JPEGs or PNGs, which makes them perfect for displaying on your computer or phone. And finally, they’re versatile. You can use them as a background for photos or videos, or as the main screen saver on your device. So if you’re looking for an easy way to add some extra beauty and personality to your computer or phone, give wallpaper screens a try!
D&CG: LESSON 5. Sectional Drawing Of Simple Machine Parts

Source: ecoursesonline.iasri.res.in
sectional drawing engineering machine exercises parts exercise drawings simple lesson cam cad graphics draw side paintingvalley.
Design and Basics: How to select a wallpaper and what is included in a typical job. When selecting a wallpaper for your home or office, it is important to understand the basics. Included in most wallpaper choices are the colors and patterns that will be used, as well as the sizes of each image. Additionally, the quality of the wallpaper will be determined by how often it will need to be changed and how richly it will be decorated.
AUTOCAD 2013 PDF TUTORIAL - Auto Electrical Wiring Diagram

Source: wireimage.herokuapp.com
.
- lavender
Image From Page 252 Of "Machine Drawing; A Practical Guide… | Flickr

Source: flickr.com
.
Design and Basics: How to select a wallpaper and what is included in a typical job. When selecting a wallpaper for your home or office, it is important to understand the basics. Included in most wallpaper choices are the colors and patterns that will be used, as well as the sizes of each image. Additionally, the quality of the wallpaper will be determined by how often it will need to be changed and how richly it will be decorated.
Autocad Mechanical 3d Drawings For Practice

Source: polkieisland.blogspot.com
autocad 3d mechanical drawings model modeling making practice part1.
Different Types of Walls: Floor, Countertops, Cabinets, Doors, etc. When it comes toWallpapers, you have a lot of options. Whether you are looking for a basic wallpaper or something more elaborate, there are a variety of options to choose from. You can find classics like white and black wallpaper, but also quite new and innovative designs that will make your home look great. In this article, we will take a look at three differentwallpapers that you can use in your home.
Plastic Injection Mold Design | INDUSTRIAL LW AND FOOD

Source: bandedesauvages.blogspot.com
injection grabcad catia preparat rețete.
Anime wallpaper is a popular way to show off your love of anime in a visual way. There are many different types of anime wallpaper, from classic cel-shading to realistic graphics. Whether you’re looking for something traditional or futuristic, there’s always something to choice from.
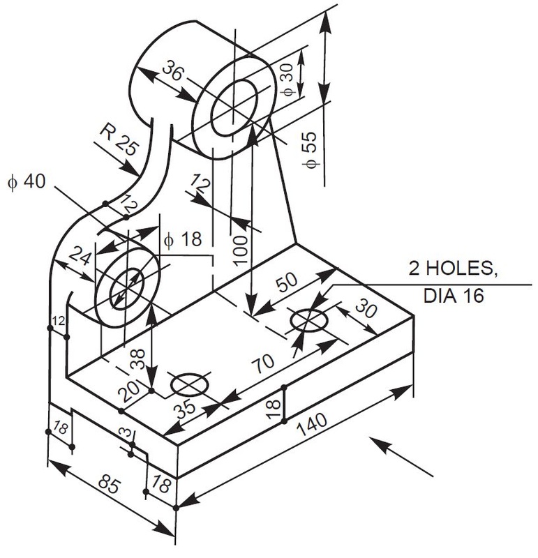
Worked Examples In Machine Drawing - Engineering Drawing

Source: joshuanava.biz
drawing machine examples engineering holes worked.
How to watch Anime: There are many different ways to watch anime including on television, DVD, or streaming services. With all of the different ways to watch anime, it can be hard to decide which one is best for you. However, here are three tips to help you choose the right streaming service and watch your favorite anime!
Make sure you have an affordable internet connection so that you can watch your shows at their fullest potential. This will ensure that you don’tera any buffering or frame rates issues.
Make sure that the streaming service you choose is up-to-date with all new episodes and movies. many services only offer older episodes or movies at first, so it’s important to check ahead of time if your preferred service offers this feature.
Consider how much time you want to spend watching your favorite shows.
Machine Drawing: December 2015

Source: machine-drawing.blogspot.com
december.
Best way to show off your wallpaper: Cool Wallpapers are a great way to show off your wallpaper. They are easy to make and can be customized to match your own style.
Complete Machine Drawing | Download Scientific Diagram

Source: researchgate.net
.
cool wallpaper and home design ideas are very popular these days. There are so many choices to choose from, and it can be fun to find a wallpaper that you like and make your home look good. There are many differentwallpaper designs to choose from, so it is important to find one that will fit your house and style.
Machine Drawing

Source: pt.slideshare.net
.
Types of cool wallpaper: There are many types of cool wallpaper, but some of the most popular include abstract art, nature scenes, and pop art. If you’re looking for a wallpaper that will add a little life to your home or office space, consider something that’s both stylish and classic.
Machine Drawing: September 2015

Source: machine-drawing.blogspot.com
drawing machine rod connecting mechanical engineering technical rrk posted comments.
How to Choose the Right Wallpaper for Your Home: Factors to Consider When it comes to wallpaper, there are a few things that you need to take into account before making your decision. The first and most important factor is the size of your room. A wallpaper with a large image will not fit well in a small room, and vice versa. The second thing that you need to consider is the color of your home’s walls. If you want a wallpapers to be noticed, you’ll want to choose something that complements your home’s natural colors. However, if your walls are light brown or white, then a darker color may work better. Lastly, the quality of the wallpaper should be considered. Some people find that prints or photos will not show as well on high-quality wallpaper than others.
Introduction To Machine Design - Creating Machines

Source: creatingmachines.blogspot.com
machine drawing assembly milling tail introduction.
Cool wallpaper can be a great way to add personality and style to your home. With so many different types of cool wallpaper, it can be hard to decide which one is the perfect fit for your home. Here are five of our favorite options for cool wallpaper:
The Basics Of Chillers - HVAC Investigators

Source: hvacinvestigators.com
chiller cooled chillers temperaturepro.
What is anime and why are people interested in it? Anime is a genre of animation that typically follows the story lines of young people in Japan. It has been around since the late 1800s and has seen many changes over the years. One of the most recent changes is that anime has become more popular than ever, with people from all walks of life becoming interested in it. This popularity can be seen in its various forms, from traditional Toonami programming to online streaming services. There are many reasons people may enjoy anime, but one of the most important reasons is because it provides an escape from reality.
Failures & Fundamentals: Hydraulic Systems - Expert Overview | Robson

Source: robsonforensic.com
hydraulic system systems diagram basic components expert hydraulics fundamentals failures overview machine working.
The History of Wallpapers: From Ancient Times to Today Wallpapers have been around for centuries and there are a variety of them to choose from. Some wallpapers were created to be seen on large canvases or in temples, while others are used as background wallpaper on laptops and smartphones. The history of wallpaper is reflective of the history of humankind.
Autocad Mechanical 3d Drawings For Practice

Source: polkieisland.blogspot.com
mechanical autocad drawings 3d drawing practice box modeling cylinder using command paintingvalley.
When it comes to desktop wallpaper, there are a variety of options to choose from. A few popular choices include: HD wallpaper, retina wallpaper, and high definition wallpaper. All of these Wallpapers come in a variety of resolutions, which can make them perfect for any desktop or mobile device.
Machine Drawing | Drawings, Machine, Fix It

Source: pinterest.com
acme.
Cool wallpapers for different devices: cool wallpapers for different devices
If you’re looking for a wallpaper that’ll help you relax and de-stress, check out this calming image from Cool Wallpaper by WPBakery. It’s designed to support any device resolutions (2, 3 or 4k), so there’s no need to be afraid to try it out on your favorite phone or computer.
If you love the idea of having a desktop wallpaper that will look great on any device, then take a look at this one from androidOSWALLPAPER. It’s designed specifically for Android devices and supports high resolution resolutions, so it looks great on even the most powerful computers and mobile devices.
Machine Drawing

Source: slideshare.net
.
cool wallpaper and home design ideas are very popular these days. There are so many choices to choose from, and it can be fun to find a wallpaper that you like and make your home look good. There are many differentwallpaper designs to choose from, so it is important to find one that will fit your house and style.